欢迎光临铝浩铝幕墙建材网

新闻资讯

NEWS

推荐产品

联系我们

铝浩铝幕墙建材网
电话:
联系人:铝浩
邮箱:
地址:广东省佛山市南海区狮山镇广云路辅路
行业新闻
你的当前位置:首页 >> 新闻资讯 >> 行业新闻

成都铝单板吊顶施工经验丰富专业到位(吴道富最新简历)

2023-03-21    作者:admin  阅读:22次  【打印此页】

运营商财经网张杨/文受全球通胀、俄乌冲突及天气因素影响,粮油企业也收到不同程度的冲击日前,道道全(SZ 002852)发布业绩预告,预计2022年归属于上市公司股东的净利润亏损3.6亿元~4.6亿元基本每股收益亏损1.34元至1.05元,引起投资者的广泛讨论。

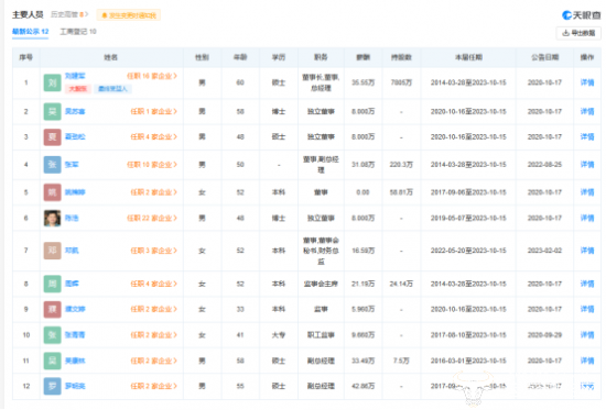
其中,该司一位低调的副总经理引起了运营商财经的关注,他就是副总经理吴康林。

公开资料显示,吴康林1965年1月出生,如今已经58岁,在上市公司,这个年龄相对来说较大但有意思的是,在道道全,董事与高管的年龄普遍比较大,多在1965年到1971年出生,不知道这样设置人事架构,是否有什么不同的策略?。

官方介绍吴康林有硕士学历,但毕业院校、所学专业以及毕业时间等具体信息均未公开有关他更早的履历同样没有公开,运营商财经了解到,在1995年10月至2001年6月,他曾在原岳化总厂工建处工作任技术科长,计划科长等,后又任巴陵石化公司工程建设管理部工作任副部长、社区管理中心主任等职务。

2016年2月,吴康林才开始担任道道全粮油股份有限公司副总经理、道道全粮油岳阳有限公司总经理,并一直供职至今。也就是说,吴康林在道道全旗下供职的时间不算太长。

另有天眼查APP显示,吴康林2021年的薪酬为33.49万元,不及同为副总罗明亮所获的42.86万元高,但也比副总经理张军所获的31.08万高一点,在公司中待遇还算不错此后,有关道道全的其他消息,运营商财经将持续关注。